财联社12月14日讯(编辑 杨斌)12月13日晚,启迪环境科技发展股份有限公司(简称“启迪环境”)发布了关于涉讼案件进展的最新公告。公司及控股子公司累计诉讼、仲裁事项金额合计46.52亿元,占最近一期经审计净资产的61.88%。其中,涉及证券虚假陈述责任纠纷的起诉案件多达405起。近两年,启迪环境因财报造假坐实,受到监管处罚并引起关注。债券募集说明书涉嫌虚假记载的“19启迪G2”将于一年内到期。
启迪环境公告了部分诉讼案件的进展情况,同时披露:目前,公司及控股子公司因行政诉讼、工程建设纠纷等经营事项提起诉讼累计未结、仲裁事项金额合计为9.69亿元;公司以及控股子公司因建设工程施工合同纠纷、债权债务诉讼、涉及证券虚假陈述责任纠纷等事项为被告累计未结诉讼、仲裁事项金额合计为36.83亿元。公司及控股子公司累计诉讼、仲裁事项金额合计46.52亿元,占本公司最近一期经审计净资产的61.88%。
具体来看,启迪环境与广州金川环保设备有限公司、北京中建恒伟安装工程有限公司、中恒建设集团有限公司等的建设工程合同纠纷,相关诉讼标的额13.48亿元;与清华控股集团财务有限公司、中原信托有限公司等债券债务纠纷,诉讼标的额16.20亿元。值得注意的是,公司收到的涉及证券虚假陈述责任纠纷的起诉案件多达405起,金额合计5799.65万元。
11月22日,启迪环境刚因年报虚假记载,遭银行间市场交易商协会自律处分。交易商协会称,启迪环境作为债务融资工具发行人,通过提前确认或虚假确认总包合同收入,导致2017年、2018年年报中主营业务收入、主营业务成本等项目存在虚假记载;且未及时披露被列为失信被执行人情况。交易商协会对启迪环境予以严重警告,责令其针对本次事件中暴露出的财务管理及信息披露等问题进行全面深入的整改。
启迪环境最早于2021年10月遭媒体质疑,涉嫌虚增在建工程资产进行财务造假。此后深交所多次下发问询函、关注函,要求其自查并澄清。2022年2月,启迪环境收到中国证监会《立案告知书》,因涉嫌信息披露违法违规,根据相关法律法规,证监会决定对启迪环境立案。
2023年4月,该案由湖北证监局调查完毕,结果显示:启迪环境2017、2018年年报中主营业务收入、主营业务成本等项目存在虚假记载。其中,2017年年报虚增主营业务收入6.63亿元,虚增主营业务成本5.32亿元,虚增利润总额1.31亿元,占当期披露利润总额的8.70%。2018年年报虚增主营业务收入3.67亿元,主营业务成本2.59亿元 ,虚增利润总额1.08亿元,占当期披露利润总额的12.99%。9月19日,启迪环境因年报及债券募集说明书存虚假记载,被湖北证监局罚款60万元;时任董事长文一波、时任财务总监万峰等多人被予以警告,并各罚款30万元。
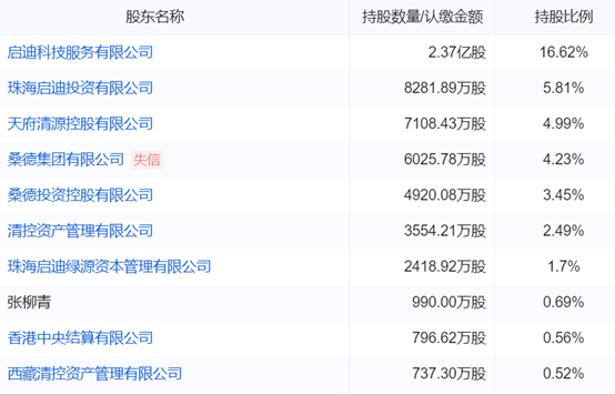
据企业预警通显示,启迪环境当前处于无实控人的状态,前十大股东中持股最多的启迪科技服务有限公司持股16.62%。
图:启迪环境十大股东

(资料来源:企业预警通,财联社整理)
从最新的财报来看,2023年前三季度报告,启迪环境实现营业收入38.11亿元,同比减少28.24%,归属于上市公司股东的净亏损2.54亿元。在2019年尚且盈利的情况下,启迪环境此后两年业绩“大跳水”,已连续三年亏损:2020年,其净利润为亏损15.59亿元;2021年,亏损45.40亿元;2022年亏损9.64亿元。
资产负债方面,截至2023年三季度末,启迪环境总资产251.16亿元,总负债151.69亿元,资产负债率60.40%。其中,流动负债74.79亿元。尽管启迪环境的负债总额在2019年达到顶峰后逐年下降,但其账上资金只有7.43亿元,并不能很好的覆盖短期债务。市场人士称,2018年以来,受金融去杠杆、校企改革、环保行业等多重因素的影响,启迪环境融资情况持续处于不利状态。
目前,启迪环境共有3只存量债券,规模合计16.5亿元。其中,“19启迪G2”余额1.5亿元,将于一年内到期。该只债券于2019年9月24日披露债券募集说明书,其所含2017年、2018年财务数据均涉嫌虚假记载。




